CONCEPTUM Inżynieria

Oleśnica
Wiadomość została wysłana

Trzymaj rękę na pulsie! Wykonawca
niedługo
powinien się z Tobą
skontaktować.

Wiadomość do:

Błędy popełniane podczas wykonywania stropów gęstożebrowych typu Teriva

Autor: mgr inż. Michał Rumin, kierownik budowy, publikacja: 2021-03-24

Budowa domu dla każdego inwestora to duże i stresujące przedsięwzięcie. Każdy chce, aby jego wymarzone cztery kąty wyglądały jak najlepiej i żeby ich użytkowanie było przyjemne. W pierwszej kolejności omówimy pokrótce budowę i elementy składowe stropów Teriva, następnie zajmiemy się błędami wykonywanymi podczas budowy stropów gęstożebrowych typu Teriva.

Kierownik budowy

Przykładowy projekt z Internetu czy indywidualny?

Samoświadomość inwestorów jest coraz większa, a co za tym idzie, starają się jak najlepiej przygotować do budowy domu. Internet, poczta pantoflowa i prasa branżowa dają dużo podpowiedzi odnośnie do technologii, w której chcemy wybudować dom, jak i firm oraz specjalistów, którzy pomogą nam sprawnie przejść przez ten proces.

Wielu klientów wybiera gotowe projekty architektoniczne z Internetu, które w dalszej kolejności architekt musi adaptować do warunków lokalnych, aby uzyskać pozwolenie na budowę.

Rodzaje stropów w projektach

Większość z nich posiada stropy zaprojektowane jako monolityczne (żelbetowe). Ich wykonanie jest bardziej skomplikowane i wymaga już dużej porcji wiedzy i doświadczenia, dlatego powinny ich wykonaniem zajmować się raczej wyspecjalizowane firmy.

Innym rozwiązaniem są stropy gęstożebrowe typu Teriva. W głównej mierze wykonanie stropu polega na ułożeniu elementów składowych i dozbrojenia newralgicznych miejsc. Nie wymagają pełnego szalunku. Często inwestorzy są w stanie wykonać większość tych prac samodzielnie, a to znacznie obniża koszty wykonania domu. Dlatego tak wielu klientów wybiera właśnie to rozwiązanie.

Mimo wszystko, z doświadczenia kierownika budowy, obserwuję często powtarzalne błędy, które w tym artykule omówię.

Budowa i części składowe stropu Teriva

1. Informacje ogólne

Stropy są stropami gęstożebrowymi monolityczno-prefabrykowanymi belkowo-pustakowymi rozwiązaniami. Jak nazwa wskazuje, składają się z:

  • kratownicowych belek stropowych,
  • pustaków betonowych,
  • zbrojenia wieńców, dozbrojeń,
  • żeber rozdzielczych,
  • kształtek zewnętrznych lub szalunków,
  • podpór,
  • nadbetonu.
Widok ogólny stropu Teriva

Rozwiązanie to może byś stosowane w budownictwie mieszkaniowym, jak i użyteczności publicznej. W budownictwie mieszkaniowym jest kilka rodzajów stropu, które różnią się wysokością pustaków.

2. Zasady wykonywania

Wykonanie stropu gęstożebrowego polega na ułożeniu belek kratownicowych opartych na ścianach nośnych w odstępach modułowych, wypełnieniu przestrzeni między nimi pustakami, dozbrojeniu wieńców, stref przypodporowych i ewentualnych żeber rozdzielczych, zaszalowaniu wszystkich miejsc szalunków, podciągów, dozbrojeń, podparciu.

Wykonanie stropu gęstożebrowego Zasady wykonywania stropu gęstożebrowego Budowa stropu gęstożebrowego Realizacja stropu gęstożebrowego Strop gęstożebrowy

3. Najczęściej popełniane błędy

Pomimo iż technologia jest stosunkowo prosta w wykonaniu, na budowach są często popełniane liczne błędy montażowe, co omówię poniżej:

  • Zbyt krótkie oparcie belek stropowych kratownicowych na ścianach.
  • Brak strzałki ugięcia belek stropowych.
  • Brak podwojenia belek stropowych pod ścianki działowe.
  • Brak dozbrojenia stref przypodporowych.
  • Brak lub niewłaściwe ułożenie żeber rozdzielczych.
  • Niewłaściwie ułożone podparcia stropu.
  • Niewłaściwe składowanie materiałów, głównie belek stropowych.
  • Błędnie wykonywane dozbrojenie wieńców.
  • Brak wypustów zbrojenia pod np. trzpienie na kondygnacji 1. piętra.

Podczas wykonywania swojej pracy i odbiorów stropów Teriva przed betonowaniem często pojawiają się wyżej wypisane błędy, które oczywiście nakazuję usunąć i podpowiadam też, jak naprawić.

1. Zbyt krótkie oparcie belek stropowych kratownicowych na ścianach

Zgodnie z wiedzą techniczną i ogólnodostępnymi materiałami (np. instrukcje dotyczące projektowania i wykonania oraz montażu stropów) belki powinny być oparte min. 8 cm na podporze stałej (ściana, podciąg).

Prawidłowe zakotwienie belki w docelowym stropie zminimalizuje spękania i zarysowania w strefie przypodporowej.

Oparcie stropów na ścianach z wykorzystaniem kształtek wieńcowych

2. Brak strzałki ugięcia belek stropowych

Strzałka ugięcia belki – inaczej podniesienie wykonawcze belki (strzałka odwrotna ugięcia) – polega na podparciu belek stropowych wyżej w kierunku przeciwnym do ugięcia, innymi słowy, w kierunku kolejnej kondygnacji w stosunku do tej, na której znajdują się podpory.

Ze względów użytkowych ugięcia belek na etapie projektowym są ograniczone i aby zredukować ich ugięcie i spękania na suficie, stosuje się tego typu zabieg.

Podniesienie wykonawcze belki

3. Brak podwojenia belek stropowych pod ścianki działowe

Pod ściankami działowymi wykonanymi w technologii murowanej bezwzględnie należy zastosować wzmocnienie – żebra stropowe, które mogą być wykonane w postaci ułożonych dwóch belek obok siebie lub dwóch belek rozdzielonych żebrem.

Brak podwojenia belek stropowych pod ścianki działowe

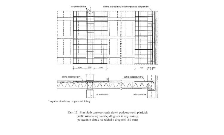
4. Brak dozbrojenia stref przypodporowych

Stropy gęstożebrowe wymagają dozbrojenia podporowego w postaci siatek płaskich lub zginanych. W stropach do 6 m można zastosować siatki płaskie.

Generalnie dozbrojenie polega na ułożeniu siatek wzdłuż wszystkich podpór wewnętrznych i zewnętrznych, jak na załączonym zdjęciu:

Zastosowanie siatek podporowych płaskich

5. Brak lub niewłaściwe ułożenie żeber rozdzielczych

W stropach gęstożebrowych należy stosować żebra rozdzielcze, których szerokość powinna oscylować w przedziale od 7 cm do 14 cm, a wysokość zbieżna z wysokością stropu. Ich zadaniem jest zapobiec nadmiernemu klawiszowaniu i uginaniu belek pod obciążeniem.

Najczęściej wykonane z dwóch prętów (górą i dołem) idących przez środek stropu. Stosuje się przy rozpiętościach od 4 m.

Brak lub niewłaściwe ułożenie żeber rozdzielczych

6. Niewłaściwie ułożone podparcia stropu

Montaż podpór belek stropowych należy przeprowadzić, uwzględniając poniższe wytyczne:

  • rozstaw podpór nie większy niż 2 m,
  • przy rozpiętości modularnej stropu do 4 m – 1 podpora (na środku rozpiętości),
  • przy rozpiętości modularnej w przedziale od 4 m do 6 m – 2 podpory,
  • przy rozpiętości modularnej w przedziale od 6 m do 8 m – 3 podpory,
  • przy rozpiętości modularnej powyżej 8 m – 4 podpory.
Montaż podpór belek stropowych

Podpory należy układać, pamiętając o zachowaniu ujemnej strzałki ugięcia oraz w sposób zapewniający odpowiednią sztywność i stabilność, uniemożliwiający swobodne przesuwanie podpór.

7. Niewłaściwe składowanie materiałów, głównie belek stropowych

Składowanie elementów stropu:

Przy składowaniu elementów stropu na budowie najważniejszym elementem, na który należy zwrócić uwagę, są belki. Należy pod ich składowanie przygotować równe, czyste i suche podłoże.

Belki powinny być ułożone na podkładach, najlepiej drewnianych o grubości ok. 80 mm i szerokości 100 mm, ułożonych w odległości ok. 1/5 od ich końców. Każdą kolejną warstwę również należy ułożyć w podobny sposób na podkładach. Powinno się piętrować belki do maksymalnie 5 sztuk na wysokości.

Belki powinny być najlepiej zabezpieczone przed opadami atmosferycznymi.

Ich montaż powinien się odbywać przez specjalne zawiesia. Nie dopuszcza się ich przenoszenia za pręt górny między węzłami.

Składowanie pustaków:

Pustaki z reguły są przywożone na teren budowy w paletach w zafoliowanych paczkach. Należy zachować ostrożność przy ich rozładunku.

Podłoże również powinno być płaskie, równe, czyste i suche.

8. Błędnie wykonywane dozbrojenie wieńców

Bardzo częstym błędem jest błędne dozbrojenie wieńców obwodowych stropu w miejscach połączeń wieńców dwóch ścian, jak również w miejscu wieńca obwodowego z wieńcem ściany nośnej wewnętrznej. Dawana jest zbyt mała liczba prętów kątowych lub są błędnie zamontowane. Ich celem jest uciąglenie zbrojenia, zatem o poprawną pracę konstrukcji.

Kolejną ważną rzeczą w tym przypadku jest zastosowanie prętów odpowiedniej średnicy, jak również zachowanie właściwych zakładów na połączonych prętach. Niejednokrotnie montowane pręty są po prostu za krótkie.

Złotą zasadą jest zastosowanie zakładu wg wzoru:


Z = śr. pręta × 50


Na przykład przy połączeniu dwóch prętów o średnicy fi=12 mm, zakład powinien wynosić Z=12×50=60cm.

Dozbrojenie wieńców obwodowych stropu Strzemiona i pręty podłużne

9. Brak wypustów zbrojenia, np. pod trzpienie na kondygnacji 1p.

Jeśli kondygnacją piętra domu jednorodzinnego będzie piętro o funkcji użytkowej, w większości przypadków na tym piętrze będzie ściana kolanowa, która powinna składać się z części wymurowanej z bloczków, trzpieni wypuszczonych z wieńca stropowego i wieńca obwodowego spinającego ścianę kolankową (podpora pod murłaty – konstrukcja dachu). Taki układ zapewnia odpowiednią sztywność i pracę konstrukcji). Rozstaw trzpieni powinien być nie większy niż 100 cm.

Trzpienie na kondygnacji 1p. Rozstaw trzpieni powinien być nie większy niż 100 cm

Wskazówki do prawidłowego wykonania stropu typu Teriva

Zwracając szczególną uwagę na omówione kwestie i wykonując je poprawnie, przyszły inwestor na pewno będzie zadowolony z tego, iż jego obiekt jest narażony w minimalnym stopniu na spękania i zarysowania.

Pamiętajcie jeszcze, że ważnym kluczem do sukcesu jest dobry kierownik budowy, który powinien w waszym imieniu odebrać wykonany strop czy to przez ekipy zewnętrzne, czy przez was bezpośrednio i zwróci uwagę na poprawność jego wykonania.

Mam nadzieję, że po przeczytaniu tego artykułu każdy z was będzie bogatszy o zaprezentowaną wiedzę i sam również zwróci uwagę na te kwestie.

Zbrojarz - gdzie szukać?

Poniżej przedstawiamy ranking 27 649 Zbrojarzy najlepszych w 2025 roku w poszczególnych miastach powiatowych:

Więcej poradników o robotach żelbetowych